1. 功能操作文档
友米聚合
  • 系统更新日志
  • 功能操作文档
    • 后台功能说明
    • 企微代开发应用接入流程
    • 群聊消息共享(企微)使用说明文档
    • 一键转移客户
    • 转移待办功能说明
    • 企业知识库使用说明
    • 标签库功能说明
    • 企微发朋友圈操作说明
    • RPA群发消息
    • 企微满意度调查使用说明
    • 自动回复使用说明
    • 智能营销使用说明
    • 智能话术推荐功能说明
    • 批量添加好友(基于RPA)使用说明文档
    • 客户端非工作时间登录使用说明
    • 系统通知类型说明
    • 员工架构设置使用说明
    • 企客宝数据同步功能说明
    • 广告转化归因使用说明
    • CTI呼叫使用说明
    • 离线代理功能说明
    • 员工音频存档---定制版手机通话VOIP录音
    • 员工音频存档---个微/企微语音视频通话VOIP录音
    • 语音转文字自动翻译文档
    • AI托管使用说明
    • AI托管使用说明 (旧版)
    • 发语音功能使用说明
    • 凭证管理参数获取操作文档
    • 聊天管理AI分析部署及使用文档
  • 接口文档
    • 快速开始
  • 产品介绍
    • 产品介绍
  • 常见问题
  • 数据模型
    • 示例数据模型
      • Pet
      • Category
      • Tag
  1. 功能操作文档

智能营销使用说明

智能营销解决企业痛点#

1、对于不同类型的客户可通过设置不同的营销方案来激活潜在客户,减少人工客服的繁琐工作;
2、文本消息使用个性化称谓功能自动插入客户姓名,使消息更具专属感,客户感到更亲切;
3、后台可查看每天给客户发送的营销方案日志,可防止员工人工发送出现偷懒情况,避免少发或者漏发的情况。
智能营销使用流程图
智能营销功能框架图
智能营销是根据权限控制使用的,操作路径:基础设置--->权限组设置--->默认页--->智能营销

一、营销方案#

1.1新增营销方案#

1.1.1营销规则#

方案名称: 只用于后台显示,不会发送给客户,可根据当前营销规则自行命名
营销时长: 只能输入数字,数字代表天数,给符合营销规则的粉丝连续发送消息的天数
例如:填写3,代表连续3个启用周期给符合营销规则的粉丝发相应的消息
包含标签: 标签是平台的标签,不填写代表给没有打标签的粉丝发消息;填写某一个标签代表给打了某标签的粉丝发消息
例如:填写了“已购买”标签,代表给“已购买”标签的粉丝发消息
**排除标签:**代表不给该类标签的粉丝发消息
例如:包含标签选了A,排除标签选了B,那么发送消息时只发给只含有A标签的粉丝,同时含有A、B2个标签的粉丝不会发送消息
引入存量粉丝:
打开: 代表给符合营销规则的旧粉丝以及新增的粉丝发消息,每天每个营销方案只引入一次旧粉丝,并且限制每台机最多引入1000个旧粉丝。超出1000个的旧粉丝,第二天再引入1000个,以此类推,直至引入完成。
例如:营销方案A启用后,运营机P01有500个符合条件的旧粉丝,引入500个旧粉丝并下发了营销消息后,如果后面再有100个符合条件的旧粉丝,当天是不会再引入进行发营销消息,只有等第2天再次引入。
关闭: 代表只给符合营销规则的新增的粉丝发消息。
以上规则填写完成后,点击“ 创建营销规则 ” ,进入下一步

1.1.2运营机列表#

员工只能选择自己管理的运营机,员工管理的运营机在基础设置--员工管理--运营号设置中设置。
选择给哪些运营机的粉丝发消息。
选择完运营机后,点击“ 【更新】营销运营机 ”,进入下一步

1.1.3营销内容#

填写每天需要发送的营销内容,可发送文本、图片、链接、视频、文件 5种类型消息。
填写完营销内容后切记要点击右上角的“保存更改内容”,否则保存失败。
营销内容填写完成后,点击“ 关闭”,新增营销方案成功自动返回营销方案列表。

1.1.4启用营销方案#

新建的营销方案是处于停用状态,需人工点击启用才会生效。
注意: 一个粉丝只能存在于一个营销方案,不能同时存在于多个营销方案。
例如: 粉丝A 处于营销方案1中,营销方案1时长是2天,只完成了1天的发送。营销方案2的规则也符合粉丝A,但是粉丝A目前处于营销方案1还未完成状态。营销方案2的营销内容是不会发送给粉丝A,只能等待营销方案1完成后,营销方案2才可给粉丝A发消息。
启用营销方案后是20分钟才会下发一次任务。

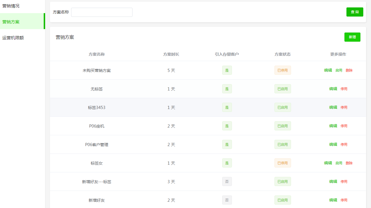
1.2营销方案列表#

展示所有正在使用或者已停用的营销方案。可对方案进行编辑、启用、停用、删除操作。
员工只能查看自己设置的营销方案,管理员可以查看所有人设置的营销方案。

二、营销情况#

2.1推送配置#

营销方案的任务下发是根据推送配置来进行下发任务的。
只有管理员才能设置“推送配置”。
启用周期: 每天:周一至周日都下发营销任务;
工作日:周一至周五都下发营销任务;
指定周期:自行选择下发任务的日期;
例如:营销方案A的时长是3天,启用周期是工作日,周五是第1天给粉丝1发消息,周六、日2天不发消息。到下周一、二再分别发第2、3天的营销消息。
启用时间: 可设置00:00~24:00之间,只有在设置的启用时间范围内才会下发营销任务;
启用状态: 打开:只有打开时候才会下发营销任务;
关闭:关闭时是不会下发营销任务。

2.2推送情况#

员工查看的是当前员工所设置的营销方案产生的统计数据,管理员查看的是全部人设置的营销方案产生的统计数据。
今天推送人数: 统计任务执行成功、执行失败的客户数(删除/停用的方案已推送的数据也会被统计);
超时/超额未推送人数: 统计不在启用时间内需要发送的客户数以及超出限额发送的客户数
例如:启用时间是9:00~18:00,那么在18:00之后产生的推送粉丝数有100个,那么这100个就是超时未推送人数
运营机限额推送500人,但是当天有510个粉丝需要推送,有10个是超额的
超时/超额未推送人数(110) = 超时未推送人数(100) + 超额未推送人数(10)
队列待推送人数: 统计服务器还没下发任务的客户数;
营销方案数: 统计启用状态的营销方案个数(不统计已删除跟停用的方案)。
营销运营机数量: 统计启用的营销方案中选择运营机的个数(不同的方案选择了相同的运营机则算1,不统计已删除跟停用的方案中的运营机)
进行中粉丝总数: 统计启用状态的营销方案并且推送进度还没完成的人数
例如:营销方案时长为3天,有10人已发送了3天的营销消息,有20人只发了1天或者2天的营销消息,则进行中粉丝总数就是20

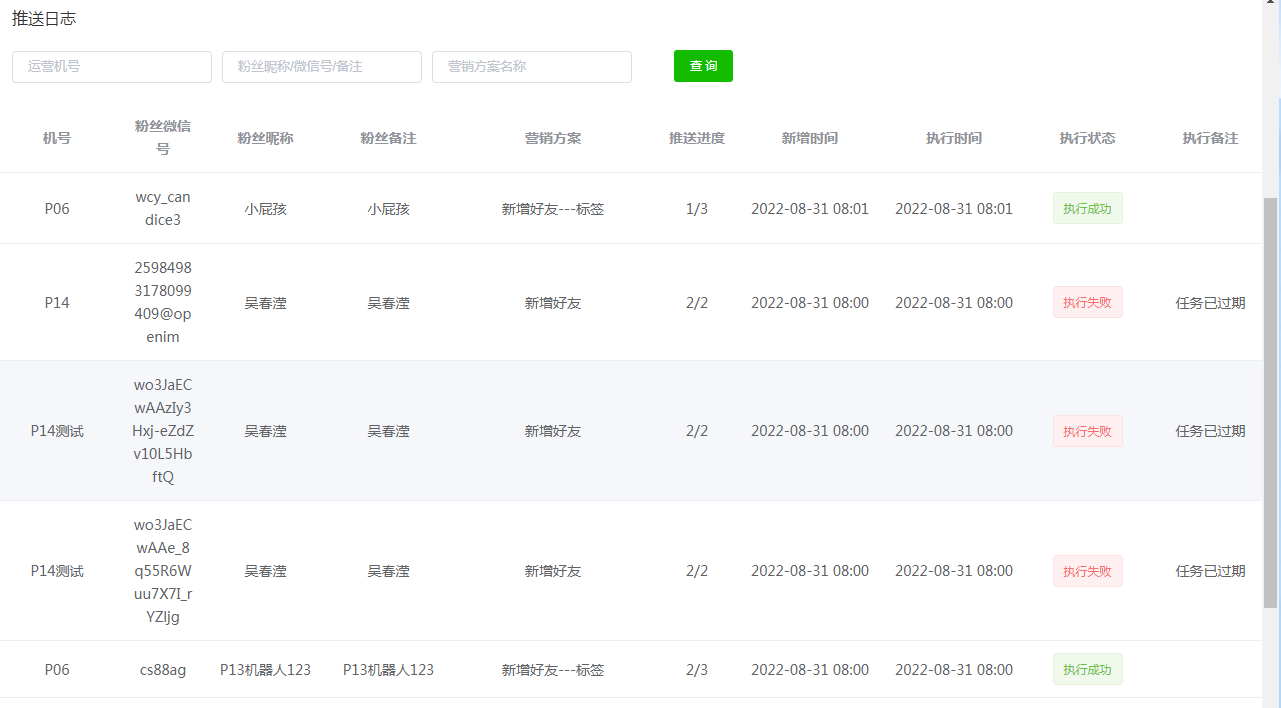
2.3推送日志#

展示每个下发到RPA助手的任务以及任务的完成情况。
员工只能查看自己所设置的营销方案的推送日志,管理员可查看所有人设置的营销方案的日志。

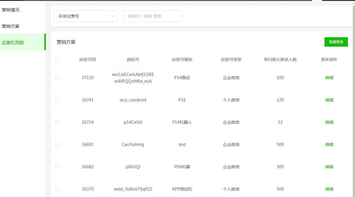
三、运营机限额#

员工只能设置自己负责的运营机(企微账号需要先去基础设置--运营号管理--企业微信管理中打开操控授权),管理员可以设置全部运营机。
设置运营机单日最大推送人数。超出了最大推送人数,服务器不会下发推送任务。默认最大推送人数是500。

四、RPA助手#

该功能使用的是RPA助手执行任务。如已经部署好RPA助手,可直接使用该功能。
如还没有安装RPA助手,可查看《RPA助手说明文档》进行安装使用。
修改于 2025-06-13 02:30:54
上一页
自动回复使用说明
下一页
智能话术推荐功能说明
Built with