1. 功能操作文档
友米聚合
  • 系统更新日志
  • 功能操作文档
    • 后台功能说明
    • 企微代开发应用接入流程
    • 群聊消息共享(企微)使用说明文档
    • 一键转移客户
    • 转移待办功能说明
    • 企业知识库使用说明
    • 标签库功能说明
    • 企微发朋友圈操作说明
    • RPA群发消息
    • 企微满意度调查使用说明
    • 自动回复使用说明
    • 智能营销使用说明
    • 智能话术推荐功能说明
    • 批量添加好友(基于RPA)使用说明文档
    • 客户端非工作时间登录使用说明
    • 系统通知类型说明
    • 员工架构设置使用说明
    • 企客宝数据同步功能说明
    • 广告转化归因使用说明
    • CTI呼叫使用说明
    • 离线代理功能说明
    • 员工音频存档---定制版手机通话VOIP录音
    • 员工音频存档---个微/企微语音视频通话VOIP录音
    • 语音转文字自动翻译文档
    • AI托管使用说明
    • AI托管使用说明 (旧版)
    • 发语音功能使用说明
    • 凭证管理参数获取操作文档
    • 聊天管理AI分析部署及使用文档
  • 接口文档
    • 快速开始
  • 产品介绍
    • 产品介绍
  • 常见问题
  • 数据模型
    • 示例数据模型
      • Pet
      • Category
      • Tag
  1. 功能操作文档

批量添加好友(基于RPA)使用说明文档

一、设置机器每日添加数量及下发任务时间#

设置路径: 后勤--->商家资料--->修改商家基本信息--->设备每日批量添加好友数、设置下发时间段
设备每日批量添加好友数: 用于控制每台机器每天添加好友的数量,达到数量后,不会再给机器下发添加好友任务。
例如:设置了设备每日批量添加好友数为10,P06机器今日已执行了10次添加好友的任务,再新建添加好友任务,任务是不会下发给P06机器。
设置下发时间段: 用于控制任务下发的时间,只能输入整数。
例如:设置了设置下发时间段为15~16,代表任务只会在15:00~16:59之间下发任务,其他时间不下发任务。
任务下发频率: 用于控制下发添加好友任务之间的时间间隔。任务下发频率 = 下发时间时长 ÷ 设置每日批量添加好友数
例如:设置每日批量添加好友数为10、下发时间段为15~16(时长为120分钟)
任务下发频率 = 120(分钟) ÷ 10 = 12(分钟)
即每间隔12分钟下发一个添加好友的任务。

二、批量添加好友(基于RPA)#

路径:潜在客户--->批量添加好友(基于RPA)
是根据权限【批量加好友】 控制。

2.1粉丝管理#

用于管理所有客户资料。

2.1.1新增粉丝#

粉丝号: 必填项,可填写手机号或者微信号;
粉丝昵称: 选填项,可填写微信昵称或者客户姓名等,在加粉时问候语前面可添加粉丝昵称;
粉丝描述: 选填项,加粉时会把粉丝描述的内容同步到客户微信描述中;
粉丝备注: 选填项,加粉时会把粉丝备注的内容同步到客户微信备注中,备注长度限制32个字符,1个中文占2个字符。

2.1.2删除粉丝#

如果粉丝号是属于用户不存在的状态可通过操作删除粉丝来进行删除数据。

2.1.3导入粉丝#

可进行批量导入粉丝号,需要使用导入模板进行填写粉丝资料。导入成功后会提示新增客户数目,更新客户数目等信息。

标签要以 标签组|标签 的方式填入,若是同一个标签组有多个标签,要以 标签组A|标签1,标签组A|标签2 的形式填入,中间用英文逗号隔开;
image.png
客户资料的值需要符合格式才会在加粉后的合并操作中合并数据,如时间格式为YYY-MM-DD
image.png
拓展资料,需要先去后台--基础设置--属性管理中添加字段,然后在Excel表格中插入对应字段,要互相匹配,同时填入的数据类型要跟后台设置的类型一致,拓展资料表头要合并,把下面拓展字段覆盖。
image.png
导入后可以再次编辑粉丝的固定参数(加粉成功后再修改,不会同步到客户资料中!)。
image.png
导入后可以再次修改自定义参数(加粉成功后再修改,不会同步到客户资料中!)。
image.png
导入后可以再次修改标签(加粉成功后再修改,不会同步到客户资料中!)。
image.png
标签合并:合并平台已存在的标签,平台不存在的标签不会触发合并(可以先去标签库创建对应标签然后再导入数据)。
image.png
固定字段合并:字段名要跟固定字段一致且字段值的数据类型对应才会触发合并。
image.png
自定义字段合并:属性名要跟后台--基础设置--属性管理已存在的字段对应,字段值的数据类型要跟预设的一致,同时Excel表中的拓展字段表头要覆盖对应的拓展字段,才能合并。
image.png

2.1.4创建加粉任务#

粉丝号: 就是选中的需要添加的好友微信号;
打招呼: 用于添加对方时发送的打招呼语,如果加上 #昵称# 代表会自动替换成粉丝资料里的昵称。
例如:客户A的资料中昵称填写的是“李先生”,那么打招呼语会发送:李先生你好
类型:(1)企微:代表用企微账号添加粉丝;
备注: 选填项,只是用于当前加粉任务的备注,只在平台的加粉任务列表中显示;
账号: 根据 类型 获取账号数据。如果类型是企微,则账号获取的是企微账号;
每个员工的账号数据是根据 基础设置--->员工管理--->运营号设置 里面设置的机号,并且该机号必须开启了加粉任务功能的。
如果账号选择了多个,下发任务时会同时给所有选择的账号下发加粉任务(每个机器收到的粉丝号是不同的),但是机器之间收到任务会有1~60S之间的延时操作,避免了所有机器同时操作加粉任务。
如果没有选择账号,则会给该员工所负责的所有机器下发加粉任务(每个机器收到的粉丝号是不同的)。
创建好的加粉任务在文档中 2.2加粉任务 可以查看。

2.1.5导入时间#

粉丝资料导入平台的时间。

2.1.6最后加粉时间#

该粉丝最后被机器操作添加的时间。

2.1.7加粉次数#

统计发送加粉成功的次数。

2.1.8加粉成功次数#

对方同意添加好友,双方已成为好友的次数。

2.1.9筛选#

关键字查询: 可以对备注、粉丝号、粉丝昵称、粉丝描述进行模糊搜索;
状态: (1)未添加:该粉丝号还没被机器发起过好友申请;
(2)添加成功:该粉丝号与其中的机器已成为好友;
(3)账号异常:该粉丝号搜索时,微信/企微提示账号异常;
(4)用户不存在:该粉丝号没有微信账号。
导入时间: 根据输入的导入时间来筛选粉丝;
最后加粉时间: 根据输入的最后加粉时间来筛选粉丝;
最小加粉次数: 只能输入整数,筛选的粉丝结果包含并且大于输入的最小加粉次数;
最小加粉成功次数: 只能输入整数,筛选的粉丝结果包含并且大于输入的最小加粉成功次数。

2.2加粉任务#

记录每个加粉任务的进度以及加粉详情。

2.2.1筛选#

内容: 可对打招呼内容进行模糊搜索;
添加时间: 对加粉任务的添加时间进行筛选;
任务进度:(1)执行中:加粉任务正在执行中;
(2)已暂停:加粉任务处于暂停状态;
(3)已完成:加粉任务已全部下发并且操作完成。

2.2.2创建单个加粉任务#

只能填入一个粉丝号进行添加操作。

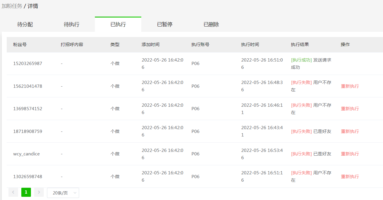
2.2.3详情#

待分配: 当前还没有下发的加粉任务;
待执行: 任务已下发给RPA助手,等待RPA助手执行任务;
已执行: RPA助手已经执行完任务;
已暂停: 还没有下发但是被暂停的任务,可以查看暂停的操作人;
已删除: 还没有下发但是被删除的任务,可以查看删除的操作人。

2.2.4暂停#

对整个加粉任务进行暂停操作,暂停后,加粉任务不会下发。

2.2.5执行#

加粉任务处于已暂停状态时才会出现执行操作。执行是对加粉任务重新打开,会重新把待分配的任务下发给机器。

2.2.6删除#

加粉任务处于已暂停状态时才会出现删除操作,删除后不再显示该加粉任务。

2.3加粉统计#

统计每个机器的加粉数量。

2.3.1时间筛选#

今天: 查询今天执行加粉任务的机器所有的任务,没有执行加粉任务的机器不显示;
昨天: 查询昨天执行加粉任务的机器所有的任务,没有执行加粉任务的机器不显示;
近7天: 查询最近7天执行加粉任务的机器所有的任务,没有执行加粉任务的机器不显示。
自定义日期: 查询当前自定义日期内执行加粉任务的机器所有的任务。

2.3.2账号类型#

分为企微。选择企微则展示企微账号的加粉情况。

2.3.3任务状态#

任务数: 机器接收到的加粉任务总数;
已提交: 任务提交到RPA助手,RPA助手还没执行完成;
添加成功: 机器向粉丝发出好友申请,并且对方通过了;
已是好友: 机器和粉丝已经是好友关系;
等待验证: 机器向粉丝发出了好友申请,对方还没通过;
对方账号异常: 机器执行添加操作时微信/企微提示“对方账号异常”;
用户不存在: 该粉丝号没有微信账号;
执行失败: RPA助手执行任务失败;
操作频繁: 由于加粉数量过多,微信/企微会提示“操作频繁”。

三、RPA助手#

该功能使用的是RPA助手执行任务。如已经部署好RPA助手,可直接使用该功能。
如还没有安装RPA助手,可查看《RPA助手说明文档》进行安装使用。
修改于 2024-01-10 10:02:35
上一页
智能话术推荐功能说明
下一页
客户端非工作时间登录使用说明
Built with