用企业微信员工号创建企业微信群聊,可以把所有的企业微信员工号都拉进同一个群聊,创建后需要给群聊设置群名,群名需要是唯一的。
企微群聊必须是外部群聊(即群成员不能全是本企业微信员工),内部群聊是不会同步到企客聊系统的。

共享群消息发送格式:
(1) 先发送文本消息到群里,格式为:flag:XXXXXX(需要是群内唯一的消息内容,“:”冒号必须是英文状态),如flag:000001
如果群内有2个文本消息都是flag:000001,这样会导致消息转发失败或者转发错误。
(2) 再发送需要转发的内容到群里,包含图片、视频、文件、链接、小程序、视频号
发送格式必须如下:
文本消息(flag:XXXXXX)+一张图片;
文本消息(flag:XXXXXX)+一个视频;
文本消息(flag:XXXXXX)+一份文件;
文本消息(flag:XXXXXX)+一条链接;
文本消息(flag:XXXXXX)+一个小程序;
文本消息(flag:XXXXXX)+一个视频号

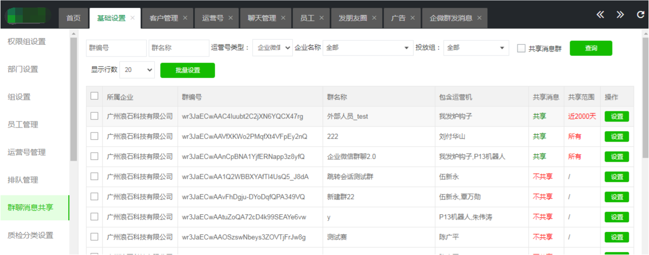
群聊消息共享设置是根据权限<基础数据---群聊消息共享>进行控制的

群聊属于共享状态时才会在客户端的群分享列表展示。
群聊消息共享的设置路径:基础设置--->群聊消息共享,只展示状态是有效的群聊。

可根据群编号或者群名称进行搜索。
可以根据投放组来限制员工查看群聊的范围,投放组设置路径:基础设置--->员工管理--->投放组设置。
勾上“共享消息群”代表只查询已经开启了共享功能的群聊。
可以设置多个群聊的共享状态,选勾选需要设置的群聊,再点击批量设置。

在每个群聊的操作栏点击“设置”进行单个群聊的设置。
共享范围是指在客户端展示群聊内容的范围。
不限时间: 群聊里所有的聊天(符合共享规格的内容)都可共享
仅限当天: 当天时间0点~24点的聊天(符合共享规格的内容)都可共享
近一天: 当前登录时间往昨天时间计算,范围是24小时内的聊天(符合共享规格的内容)都可共享
近7天: 当前登录时间7天内的聊天(符合共享规格的内容)都可共享
自定义范围: 根据自己需要自行设置可查看的聊天(符合共享规格的内容)
该功能使用的是RPA助手执行任务。如已经部署好RPA助手,可直接使用该功能。
如还没有安装RPA助手,可查看《RPA助手说明文档》进行安装使用。
群分享是根据权限<客户端权限设置---转发共享群消息>控制的,有权限才可以使用。

客户端版本必须使用2.2.24及以上版本,安卓版本必须使用4.4.0及以上版本,IOS必须使用4.7.6及以上版本。
群分享列表只展示当前客户归属的企业微信员工并且开了共享状态的群聊。
例如:客户A属于企业微信员工1,那么群分享列表就只展示企业微信员工1的群,不会展示企业微信员工2的群,并且展示的群都是共享状态的。

操作步骤:
(1)点击群聊进入聊天;
(2)勾选需要发送的内容;
(3) 点击发送

针对消息共享群,新增运营号 无法直接使用 历史群共享内容,每新增一台运营机,需要重复发送共享内容问题,现提供以下解决方案
假设
新增运营机(运营机_P08)
已有运营机(运营机_P02)
已有共享群(共享群AAA)
实现步骤:
1、新增运营机_P08,创建一个新群:共享群ZZZ,将已有运营机_P02 拉进去

2、已有运营机_P02 将 共享群AAA 历史消息,选择 逐条转发 到 共享群ZZZ

3、已有运营机_P02 将 新增运营机_P08,拉进 共享群AAA,
4、新增运营机_P08,往共享群AAA里发送一条消息:link:共享群ZZZ

RPA工作步骤:
1、客户端给新增运营机P08的客户发送共享群AAA的flag:001内容,新增运营机_P08 上的RPA收到 群转发指令,在 共享群AAA 转发 flag:001 内容
2、RPA 进入 共享群AAA ,向上翻找不到flag:001,但是找到 运营机_P08 发的:link:共享群ZZZ
3、再次进入 共享群ZZZ,继续查找 flag:001
4、成功转发