

在企微后台切换到“应用管理”菜单,创建应用

填写应用数据并创建
应用logo: 可以随意上传图片
应用名称: 满意度调查
应用介绍: 可以不填
可见范围: 必须选择全公司员工(不在可见范围内的企微员工无法使用满意度调查)

进入满意度调查应用,页面滑动到底部,点击设置可信域名

填写可信域名并保存,格式:{服务器域名}:5001
服务器域名就是自己公司友米聚合平台的服务器域名,不能使用示例中的服务器域名。

进入满意度调查应用,查看Secret,并将Secret资料发送至企微账号

企微账号收到Secret资料,并填入企客聊企业微信资料的“满意度Secret”中

企微满意度调查是根据权限<企微满意度调查>控制展示,设置权限路径:友米聚合后台--->基础设置--->权限组设置--->配置权限--->默认页--->勾上企业满意度调查--->保存

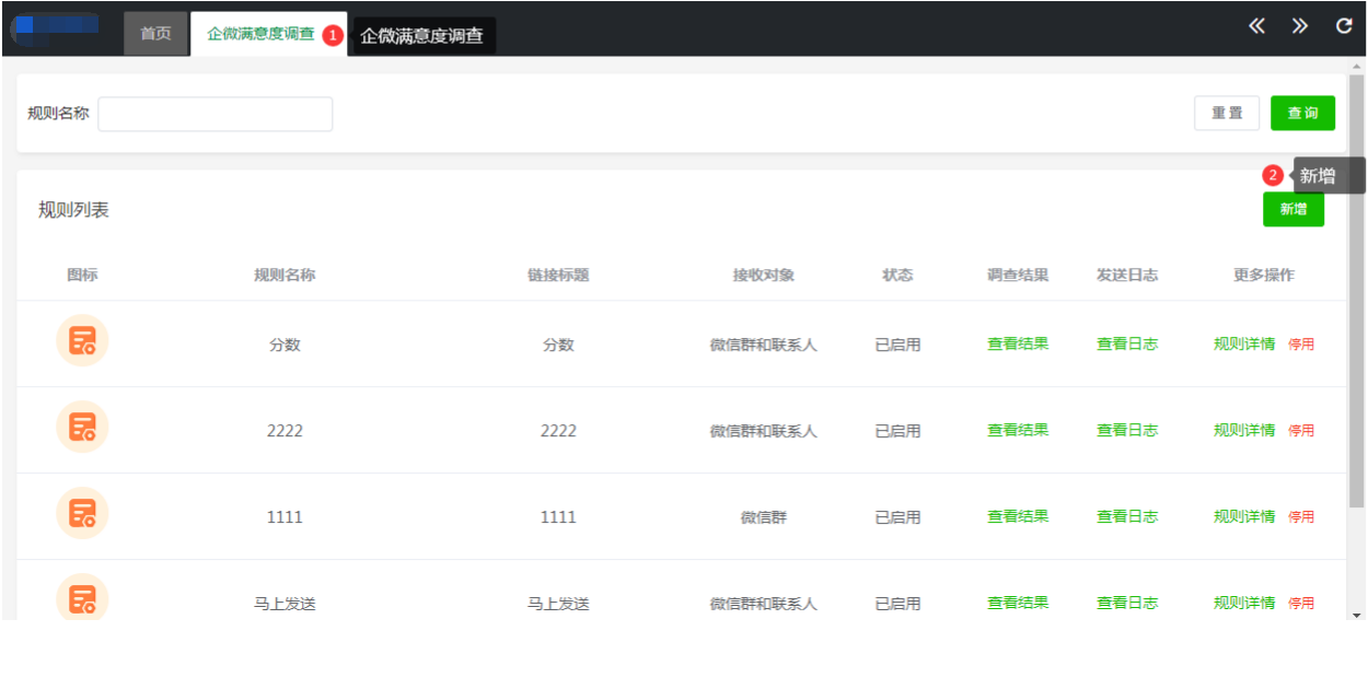
操作路径:友米聚合后台--->企微满意度调查--->新增

规则名称: 不对外展示,在规则列表可根据规则名称进行搜索
链接标题: 对外展示,客户收到链接时显示的链接标题
链接描述: 对外展示,客户收到链接时链接标题下面显示的就是链接描述
链接图标: 对外展示,客户收到链接时右下角显示的图片
发送频率: (1)7天一次:如果满足发送条件,会给7天内没有收到过该调查表的客户发送调查表;
(2)15天一次:如果满足发送条件,会给15天内没有收到过该调查表的客户发送调查表;
(3)30天一次:如果满足发送条件,会给30天内没有收到过该调查表的客户发送调查表;
(4)自定义X天一次:根据企业需求自行填写天数,如果满足发送条件,会给X天内没有收到过该调查表的客户发送调查表.
发送时机:(1)对话结束后立刻发送:会话20分钟内没有消息视为对话结束,即最后一条聊天消息(无论客户发的还是员工发的)20分钟后会给满足条件的客户发送调查表;
(2)对话结束后X小时发送:根据企业需求自行填写数目(单位:小时),即对话结束后X小时后会给满足条件的客户发送调查表;
(3)指定时间发送:只能指定整点发送,例如指定12:00,时间到达12:00会马上给满足条件的客户发送调查表,12:00之后才满足条件的客户是不会发送的。
接收对象:(1)微信群:该调查表只会给在群里聊过天的客户单独发送(如果群里客户不是企微员工的好友,那么就会导致发送失败);
(2)联系人:该调查表只会给与企微员工聊过天的客户发送;
(3)微信群和联系人:该调查表会给在群里聊过天的客户或者单独与企微员工聊过天的客户发送(即(1)、(2)2种情况的客户都会发送)。
选择样式: 满意度调查表的底图(可查看右边预览图)
调查内容:(1)评价模式:分数(110分);星级(15星分别代表1~5分)
(2)问题:可根据自己需要进行填写或者使用默认提供的问题

规则列表展示了所有调查表规则
可根据规则名称进行查询。
规则状态分为已启用、已停用。
已启用: 代表还在使用状态的,条件满足时还会给客户发送满意度调查表
已停用: 代表不在使用状态的,条件满足时也不会给客户发送满意度调查表
调查结果展示的是客户评价满意度调查表的结果,可根据员工类型进行查询。

员工类型为平台员工(即企客聊工号),可查看每个工号下面归属的客户的所有评价。没有归属的客户的评价是不进行统计的。
可点击详情进入详情页进行详细查看,分别展示每个客户对调查表的评分及建议或投诉。

员工类型为企业员工(即企业微信员工),可查看每个企微微信员工下面客户的所有评价。
可点击详情进入详情页进行详细查看,分别展示每个客户对调查表的评分及建议或投诉。

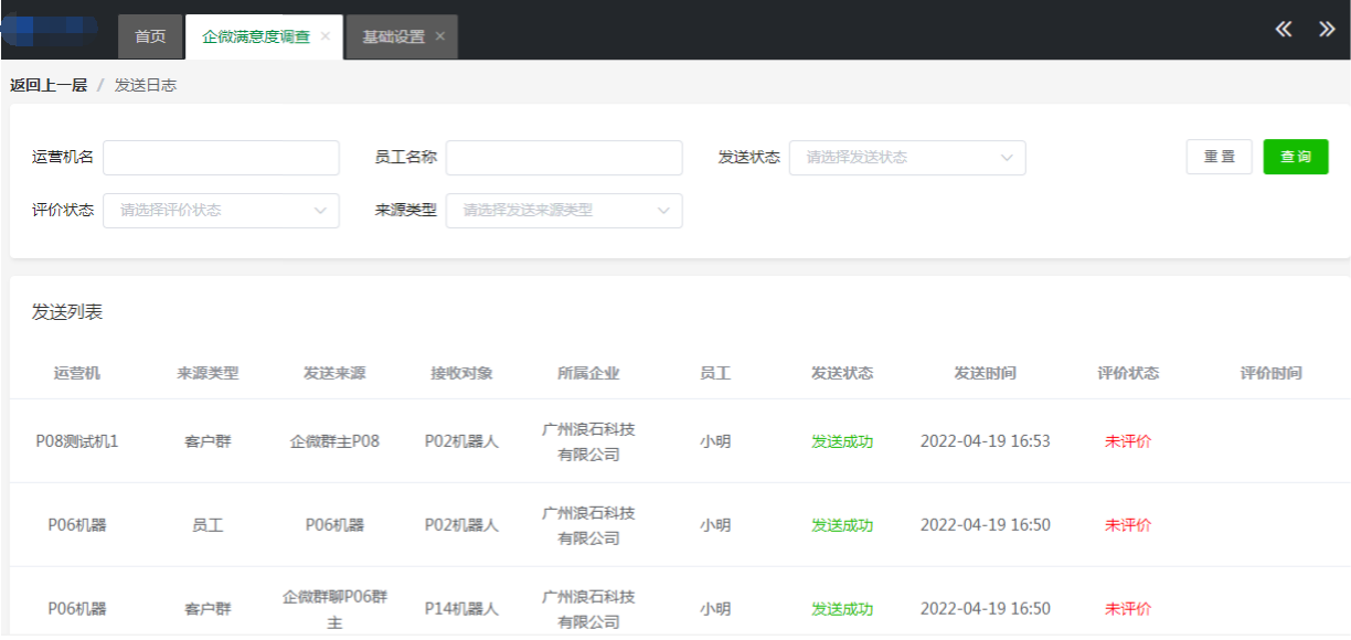
发送日志是给客户发送满意度调查问卷的发送记录。

规则详情就是查看相应满意度调查的设置规则。
停用就是暂停发送该满意度调查表。
启用就是开启使用该满意度调查表。
删除就是删除该满意度调查表的记录。删除后不可恢复。
操作路径:友米聚合后台--->基础设置--->运营号管理--->企业微信管理--->打开存档授权及操控授权。

二维码路径:友米聚合后台--->基础设置--->运营号管理--->企业微信管理--->创建设备绑定码

